Valpasスマートデバイス
Valpasスマートデバイスの取り付け手順
Valpas認証の客室は、原則として スマートデバイス と ベーシックレッグ を組み合わせることでより効果を発揮します。
スマートデバイス はトコジラミが最初に客室に侵入した際に捕獲します。トコジラミがベッドに到達する前に誘引する特許取得済みの設計で出来ています。
スマートデバイスに加えてベーシックレッグ の設置によって効果を最大化し、すべてのベッドを保護することができます。薬剤は一切使いませんのでゲストや、一緒に宿泊するペットへの影響もありません。
ステップ1: 準備する
設置に必要なすべてのパーツと工具が揃っていることを確認してください

Valpasスマートデバイス
部屋あたり最低1台、宿泊者1人につき1台

Valpasベーシックレッグ
残りのベッドレッグ分

ねじ付きロッド
スマートデバイス(ベッドレッグタイプ)ごとに1本
ステップ2: スマートデバイスを設定する
Valpasモバイルアプリでスマートデバイスを設定するステップ3: スマートベッドレッグをベッドに取り付ける
スマートレッグはベッドの枕側に取り付け、残りのベッド脚には基本レッグを使用します。正しい配置は下の写真をご覧ください。
残りのベッドの角に基本レッグを取り付けてください。
スマートレッグのトラップが点検しやすいようにしてください。
ベッドが部屋の角に寄せられていて二辺が壁に接している場合は、点検しやすくするために壁側の角ではなく部屋側を向いた角にスマートレッグを取り付けてください。


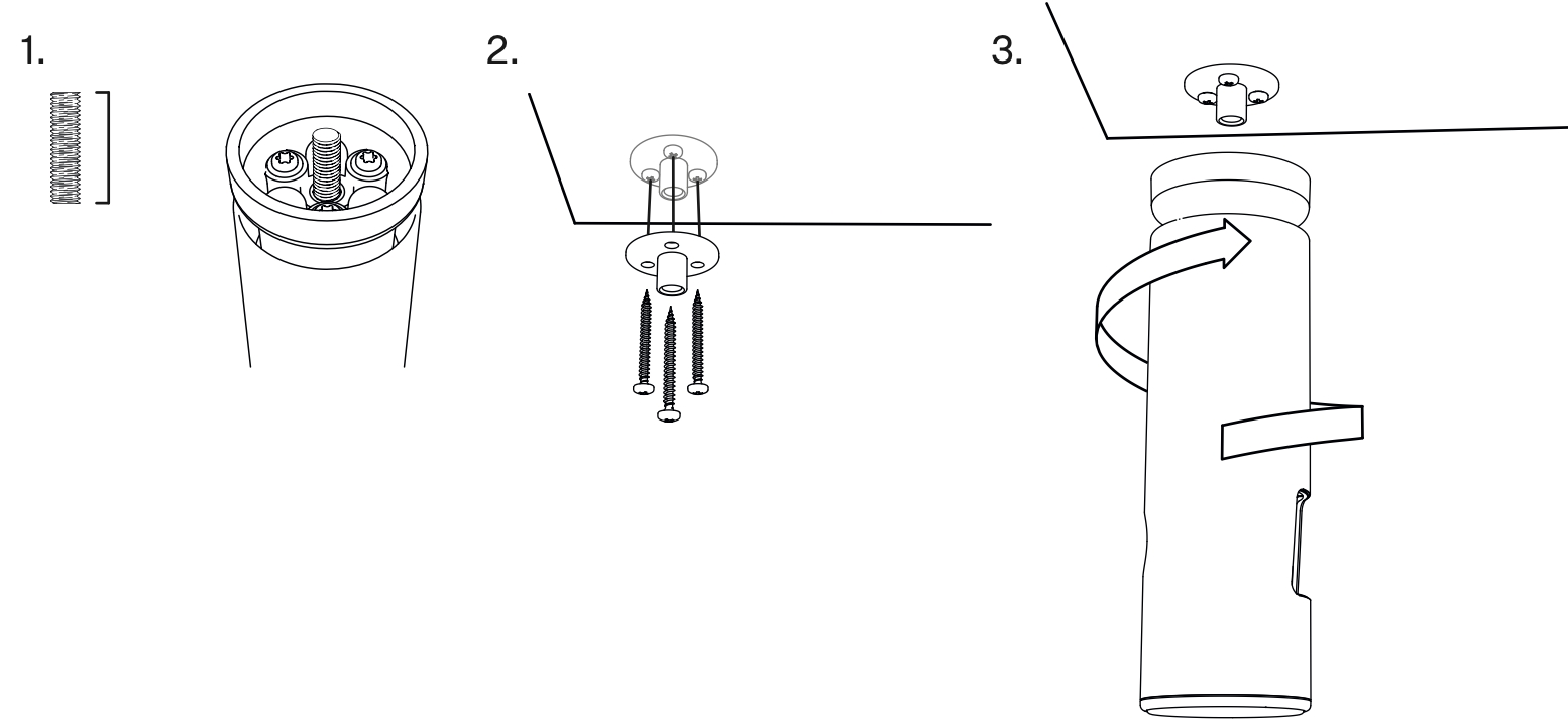
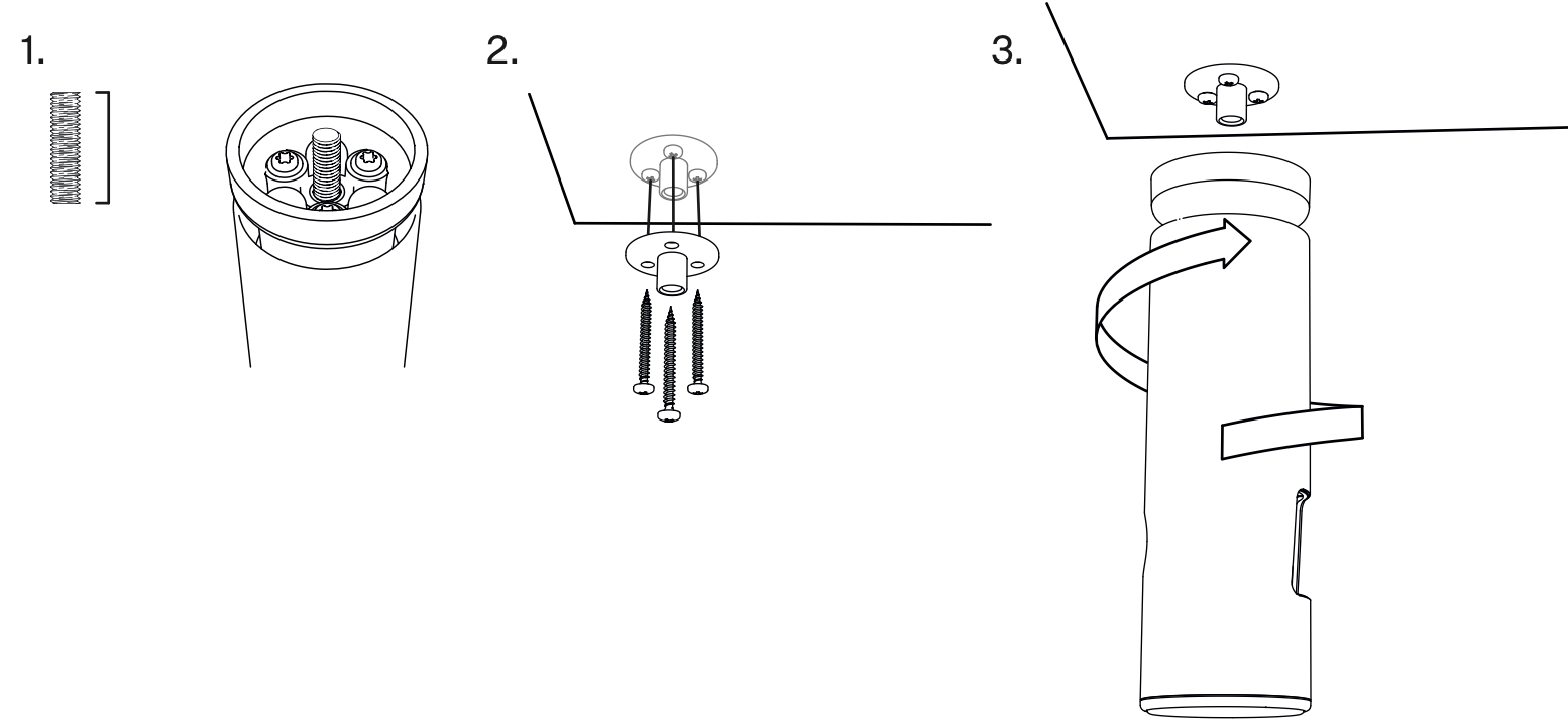
レッグをベッドフレームに取り付けるには、付属のアダプタ底板を使用するか、フレームの既存のねじ込みソケットにねじ込んでください。下の写真は両方の方法を示しています。
既存のねじ込みソケットへの取り付け

アダプタ底板での取り付け

Last updated
